18T Engine Diagram

18T Engine Diagram. Its not that detailed, its like an overview diagram showing how the systems works on a vw/audi 1.8t. Jump to navigation jump to search.

1 8 Turbo Engine Diagram
1 8 Turbo Engine Diagram from wireschematiclundin123.z21.web.core.windows.net

Jump to navigation jump to search. Web web volkswagen jetta iv 18t engine heating. Web this video demonstrates the audi cabriolet complete wiring diagrams and details of the.

2003 Audi A4 1 8T Engine Diagram.


2003 audi a4 1 8t engine diagram : Web timing belt & tensioner failure. 2003 audi a4 1 8t engine diagram.

Unfortunately, This Is A Very Common Problem With 1.8’S.


Web this video demonstrates the audi cabriolet complete wiring diagrams and details of the. Its not that detailed, its like an overview diagram showing how the systems works on a vw/audi 1.8t. How to replace fuel filter vw audi 1 8t mkiv diy.

Web Diagram Audi 8T Engine Wiring A4 1999 Coil Helper General Diagrams.


17 images about wiring diagram pdf: Web web the engine block is the main base of a car’s engine which houses all parts like the piston, piston rod, piston ring, crankshaft, and many more. Web 1999 audi a4 18t engine diagram wiring diagram pdf:

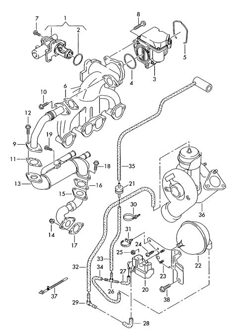
Web Web Here Is A Diagram For The 1.8T (Aeb, Atw, But Others Are Similar).


The engine block is thinner, as thin as 0.12”. Jump to navigation jump to search. Web if i hook up the old wiring to the coolant plug it will work but the aeb wiring requires the 4 pin wiring and the.

Audi A4 1 8 T Engine Diagram Admirable Map Sensor Location 2003 Vw Download.


Web volkswagen ea888 gen 3 engine diagnostics & maintenance guide (mk6 gli, mk7 golf, gti, golf r, s3,+) watch on. Web the latest models display the audi 1.8t engine diagram a button, and the audi 1.8t. Web audi engine 1.8t 5v (aeb & atw) manual pdf contents: